|

|
|
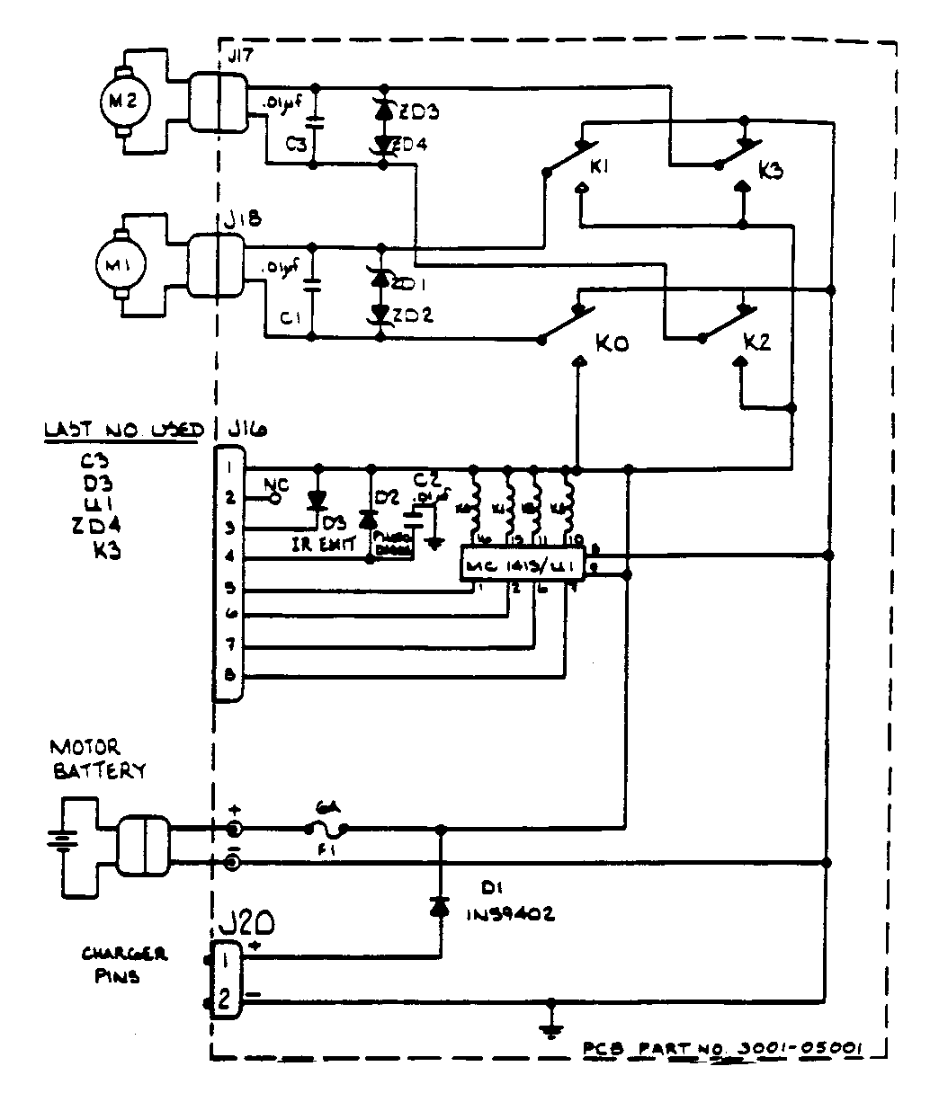
Designator |
Description |
Value, Type |
|
Cl, C2,
C3 |
Capacitor |
0.01
UF, 20%, 100 volt |
|
DI |
Diode |
IN5402 |
|
D2 |
Photodiode |
TIL413 |
|
D3 |
Infrared LED |
TIL39 |
|
ZD1,
ZD2, ZD3, ZD4 |
Zener diode |
IN4740, 10 volt |
|
K0, K1,
K2, K3 |
Relay |
5
volt coil, 3 amp contacts |
|
U1 |
Driver |
MC1413 |
|
F1 |
Fuse |
6
amp, 3AG |
Schematic

|